Apple đang nghiên cứu để tăng khả năng chống nước cho iPhone
iPhone có thể tồn tại dưới nước ở độ sâu 2 mét trong thời gian 30 phút theo tiêu chuẩn IP68, tuy nhiên giống như các nhà sản xuất khác, Apple vẫn luôn nghĩ cách để đạt tới khả năng chống nước hoàn toàn.
» iPhone số 1 Hải Phòng - Thọ Sky Mobile
» Đánh giá chi tiết iPhone 8 Plus: Vì sao hấp dẫn hơn cả iPhone X?
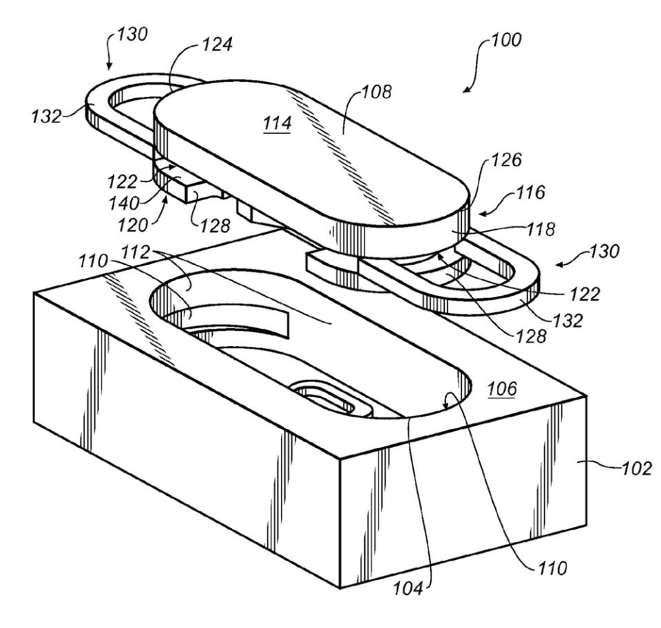
Trong một bằng sáng chế mới được phát hiện gần đây bởi AppleWorld.Today, Apple cho rằng một trong những nguyên nhân chính khiến iPhone không thể chống nước hoàn toàn là do việc sử dụng các nút bấm vật lý. Đồng thời, công ty cũng đang xem xét một vài ý tưởng để có thể giải quyết được vấn đề này.
iPhone Hải Phòng
Cụ thể hơn, một phương pháp mà Apple cho rằng hiệu quả là việc áp dụng thiết kế vỏ mới để tối ưu cho các nút bấm. Vì bản thân nó cũng có khả năng chống thấm đặc biệt, do đó người dùng sẽ không phải lo về việc bị nước vào khi nhấn nút.
“Nút bấm chống nước sẽ bao gồm một khoang trống để chứa phần “cửa” và một công tắc bấm. Công tắc này có thể dễ dàng được kích hoạt thông qua khe hở ở phần “cửa”. Ngoài ra, nó cũng đi kèm với một số lượng lớn các thành phần được đặt ở hai đầu đối diện của nút, được thiết kế để giữ nút luôn cố định ở bên trong khoang trống.” – Apple giải thích trong bằng sáng chế.
Chỉ là một bằng sáng chế, không phải là một tính năng nhất định
Điều này có nghĩa là iPhone sẽ trở nên chống nước hoàn toàn? Không hẳn vậy, nhưng Apple cho biết phương pháp phức tạp của họ, bao gồm việc bổ sung thêm các thành phần hỗ trợ khác, có thể giúp giảm khả năng bị thấm nước vào bên trong.
Tất nhiên, đây vẫn chỉ là một bằng sáng chế và như thường lệ, công ty vẫn phải trải qua một chặng dường dài nghiên cứu và phát triển để áp thể áp dụng nó vào thực tế, cũng như trong quá trình sản xuất hàng loạt. Do đó, chúng ta cũng có thể sẽ phải chờ một thời gian khá dài để thấy những thay đổi này trên các mẫu iPhone trong tương lai.
-
Apple dẫn đầu thị trường smartphone Trung Quốc nhờ sức hút của iPhone 17
Tin hot20 April, 2026 -
Đánh giá iPad Air M3: Khi ranh giới giữa Air và Pro ngày càng mong manh
Tin hot20 April, 2026 -
iPhone 18 Pro Max lộ diện 3 màu mới cực đẹp: Dark Cherry gây chú ý
Tin hot20 April, 2026 -
Galaxy Z TriFold 2 rò rỉ bản lề siêu mỏng: Z Fold8 và Z Flip8 sắp được “hưởng lợi”
Tin hot20 April, 2026 -
Android 17 rò rỉ loạt nâng cấp mới: Giao diện đẹp hơn, thêm nhiều tính năng tiện ích
Tin hot19 April, 2026









